Contenido del sobre:
9 varillas de aluminio
1 toldo de tela
10 tornillos largos + 1 de repuesto por si se te pierde alguno al armarlo
2 tornillos cortos
4 tiras de abrojo bifaz largas
2 tiras de abrojo bifaz cortas
2 troqueles de abrojo bifaz
1 destornillador de regalo
4 abrojos bifaz de repuesto
INSTRUCCIONES DE ARMADO
Las 9 varillas se dividen en 2 largas, 5 medianas y 2 cortas.

En este manual las indico en negro, gris y blanco según el siguiente gráfico.
2 de las varillas medianas tienen orificios para utilizar según el ancho del respaldo de tu reposera.
En el siguiente esquema encontrarás cómo conectar las varillas identificándolas con sus colores.

PASOS RECOMENDADOS PARA ARMAR EL TEGO

Posicioná una de las varillas con orificios sobre el respaldo de tu reposera para saber cuales vas a usar. Tenes para dos medidas de reposeras, 41 o 47 cm midiendo de centro a centro de cada listón vertical del respaldo.

Sobre una mesa armá primero la estructura central según el esquema de la página anterior.

Luego uní las 2 varillas largas a una de mediana, según el esquema de la página anterior, utilizando los orificios de uno de los extremos.

Ahora, es momento de unir las piezas armadas en los puntos 2 y 3 utilizando los orificios libres de las varillas largas a cualquiera de los extremos libres de la pieza del punto 2.

En los extremos libres de la pieza armada en el punto 2, uní las varillas cortas por sus orificios según el esquema de la página anterior.

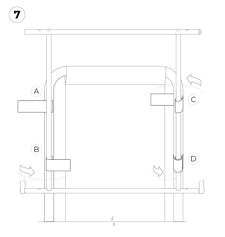
Por último, colocá el troquel de abrojo bifaz al extremo de la varilla corta (A) y abrazá el abrojo a la varilla larga (B).

Ahora fija el Tego a tu reposera. Para ello usa los abrojos largos. Te aconsejo que superpongas el principio del abrojo entre el caño del respaldo y el de Tego, asi no toca metal con metal y luego envuelvas ambos caños lo mas tirante que puedas. Este proceso hacelo en los 4 puntos de agarre que se puestran en el esquema.

Con las varillas sujetas al respaldo de tu reposera, te sera mas facil colocar la tela. Para ello, coloca la reposera en posicion de uso y abre la estructura como se muestra en la figura 8. Quita uno de los tronillos del frente para liberar la varilla en la que vas a enebrar la lona por la vaina delantera y vuelve a colocar el tornillo que quitaste. Por último, hace lo mismo con los tornillos de la parte trasera de la esctructura para volverlos a colocar enebrandolos en los ojales laterales como ves en la figura 8. Listo, la lona esta colocada!
Vas a notar que te sobran dos tiras de abrojo. Son para sujetar las 2 varillas verticales de Tego en posicion cerrado para que el toldo no se despliegue si estas trasladando tu reposera o si queres tomar sol.
Una vez que el Tego esta sujeto a tu reposera, le vas a poder graduar la altura, y si en algun momento sentis que los abrojos se aflojan, volvelos a ajustar. Te recomiendo que para trasladarlo lo pongas lo mas bajo posible asi ocupa menos espacio.
